Catálogo / FerreterÍa / Herraje pavonado / Percha simple dos ganchos negra

PERCHA SIMPLE DOS GANCHOS NEGRA

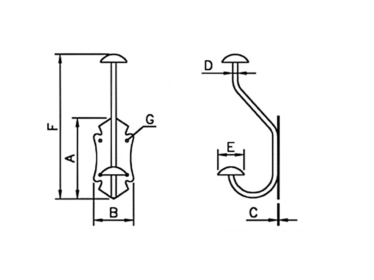
Código Ref. A B C D E F G
81822 941 134 65 2 8 44 220 4,5 caja

atados     bolsa     caja     display     granel     retractilado